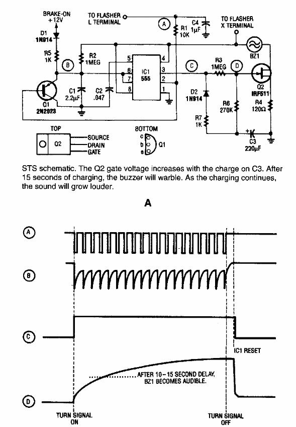
Este circuito de uma Electronics Now dos anos 90 produz um sinal inteligente de seta que tem duração controlada. Os componentes são comuns ainda em nossos dias, alguns admitindo equivalentes.

Este circuito de uma Electronics Now dos anos 90 produz um sinal inteligente de seta que tem duração controlada. Os componentes são comuns ainda em nossos dias, alguns admitindo equivalentes.
