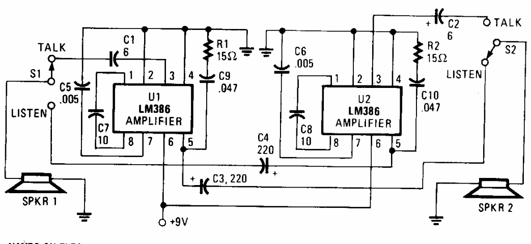
Este circuito é de uma Hands-On Electronics dos anos 90. Os amplificadores integrados usados são bem conhecidos. O alcance é de algumas dezenas de metros dependendo da resistência dos cabos.
Este circuito é de uma Hands-On Electronics dos anos 90. Os amplificadores integrados usados são bem conhecidos. O alcance é de algumas dezenas de metros dependendo da resistência dos cabos.