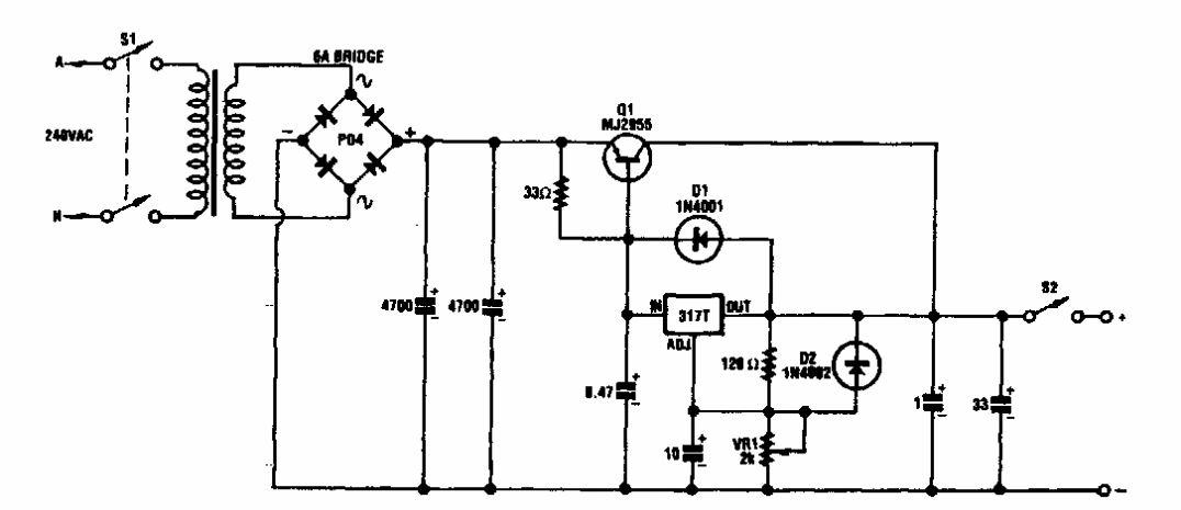
Encontrado em documentação da Silicon Chip dos anos 90, este circuito fornece uma corrente de 3 A e as tensões vão de 0 a 20 V. O circuito integrado e o transistor devem ser dotados de dissipadores de calor.
Encontrado em documentação da Silicon Chip dos anos 90, este circuito fornece uma corrente de 3 A e as tensões vão de 0 a 20 V. O circuito integrado e o transistor devem ser dotados de dissipadores de calor.