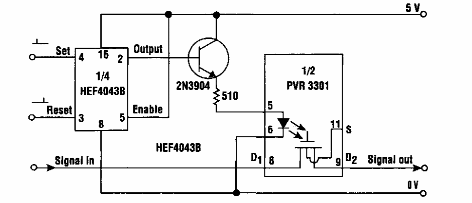
Encontramos este circuito numa Electronic Design dos anos 90. Os componentes admitem equivalentes atuais. O circuito pode funcionar como um shield.

 


| Clique na imagem para ampliar |

 

 

 

NO YOUTUBE


NOSSO PODCAST