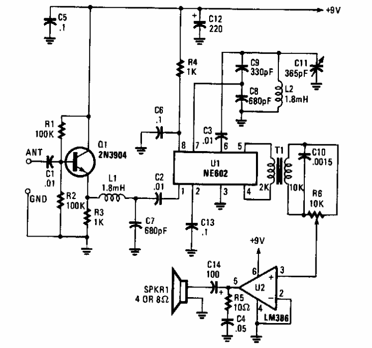
Este circuito foi encontrado numa Popular Electronics dos anos 90. O circuito usa componentes da época, destinando-se a recepção de sinais na faixa de 150 a 250 kHz.
Este circuito foi encontrado numa Popular Electronics dos anos 90. O circuito usa componentes da época, destinando-se a recepção de sinais na faixa de 150 a 250 kHz.