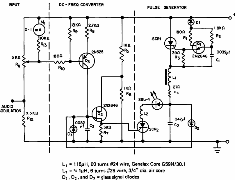
Este circuito foi encontrado numa documentação da General Electric de 1970. Este circuito já utilizava um LED emissor. O circuito opera em frequências de 50 Hz a 50 kHz com pulsos de curta duração.
Este circuito foi encontrado numa documentação da General Electric de 1970. Este circuito já utilizava um LED emissor. O circuito opera em frequências de 50 Hz a 50 kHz com pulsos de curta duração.