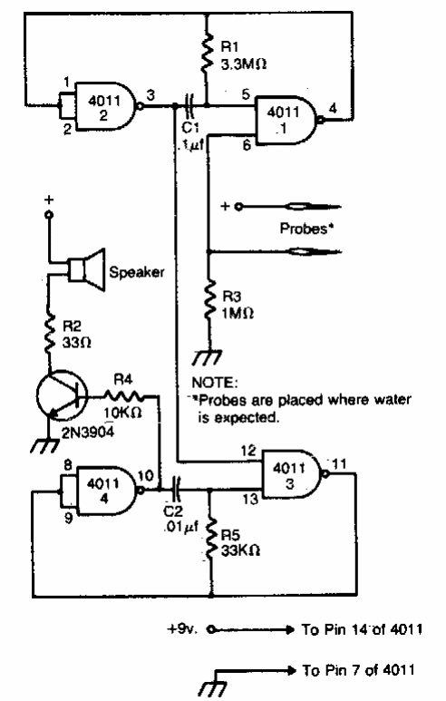
Encontrado numa publicação inglesa dos anos 80, este circuito usa componentes que ainda são comuns em nossos dias. A fonte de alimentação deve ser isolada, se não forem usadas baterias.

Encontrado numa publicação inglesa dos anos 80, este circuito usa componentes que ainda são comuns em nossos dias. A fonte de alimentação deve ser isolada, se não forem usadas baterias.
