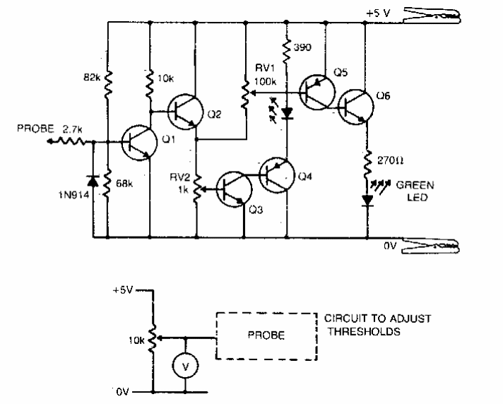
Este circuito foi encontrado numa documentação dos anos 80. Os transistores são tipos de uso geral como os BC548 para os NPN e BC558 para os PNP.

 


| Clique na imagem para ampliar |

 

 

 

NO YOUTUBE


NOSSO PODCAST