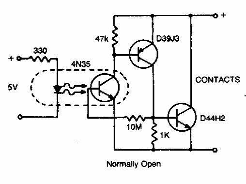
Este circuito de relé ou shield de estado sólido foi encontrado numa documentação antiga. Podem ser usados transistores e acoplador equivalentes. A tensão máxima é de 25 V e a corrente 10 A.

Este circuito de relé ou shield de estado sólido foi encontrado numa documentação antiga. Podem ser usados transistores e acoplador equivalentes. A tensão máxima é de 25 V e a corrente 10 A.
