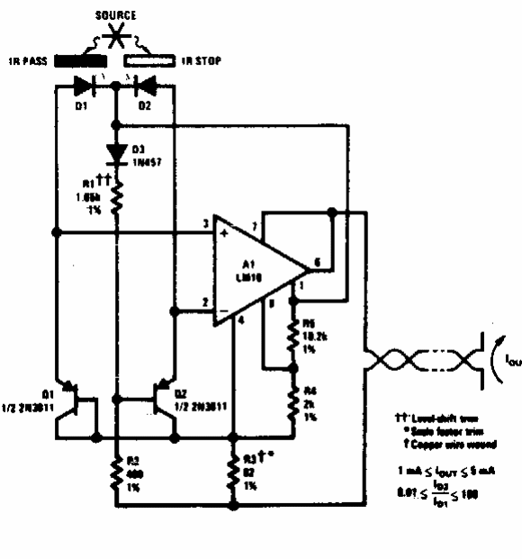
Este circuito foi encontrado numa documentação dos anos 80. Os semicondutores usados são da época. Os sensores são fotodiodos. O sinal é enviado a um circuito remoto através de par trançado.

Este circuito foi encontrado numa documentação dos anos 80. Os semicondutores usados são da época. Os sensores são fotodiodos. O sinal é enviado a um circuito remoto através de par trançado.
