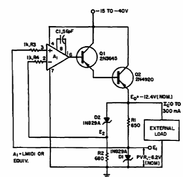
Encontrado numa Electronic Design de 1969, este circuito se destina a alimentação de uma carga até 300 mA. Os transistores são da época e o operacional admite equivalente moderno.

Encontrado numa Electronic Design de 1969, este circuito se destina a alimentação de uma carga até 300 mA. Os transistores são da época e o operacional admite equivalente moderno.
