Quando falamos em revistas técnicas do tipo de divulgação científica ou faça você mesmo (DIY) o primeiro nome que nos vem à mente é o de Hugo Gernsback. Esse visionário americano publicou centenas de títulos diferentes, indo desde a eletrônica e ciência a outros como de ficção científica tendo sido responsável pelo descobrimento de grandes nomes como o de Isaac Asimov.

Hugo Gernsback nasceu no Luxemburgo em 16 de agosto de 1884. Emigrou para os Estados Unidos em 1905 para tentar vender a patente de uma pilha que havia inventado.
Em 1908 criou a revista Modern Electrics e depois criou a que seria a primeira revista dedicada a Ficção Científica Amazing Histories em 1926, revistas que revelaria nomes como o de Isaac Asimov, Arthur Clarke.

Foi autor de mais de 80 invenções patenteadas na época, coisas que só se tornaram viáveis muito tempo depois mostrando toda a capacidade deste visionário.

Hugo Gernsback é considerado o pai da ficção científica tendo sido o editor da primeira revista de eletrônica do mundo. Esta revista, chamada de Modern Electrics apareceu em 1908. Em 1925 Hugo fundou uma estação de rádio e depois diversas outras revistas que se tornaram muito conhecidas até os dias de hoge, como a Radio Craft que se tornou depois a Radio Electronics.
Hugo Gernsback tinha um relacionamento muito estreito com cientistas da época como, por exemplo, Lee DeForest que foi o inventor da válvula triodo a partir da qual a eletrônica pode avançar de uma forma muito rápida rumo aos aparelhos que hoje conhecemos.
Hugo deixou milhares de artigos sobre eletrônica, ficção científica e invenções envolvendo eletrônica que deixaram o mundo perplexo diante da sua capacidade de visão do futuro. Dentre as invenções destacam-se a televisão solar, aparelhos para evitar ruídos ambientes, novos materiais como o plástico, etc.
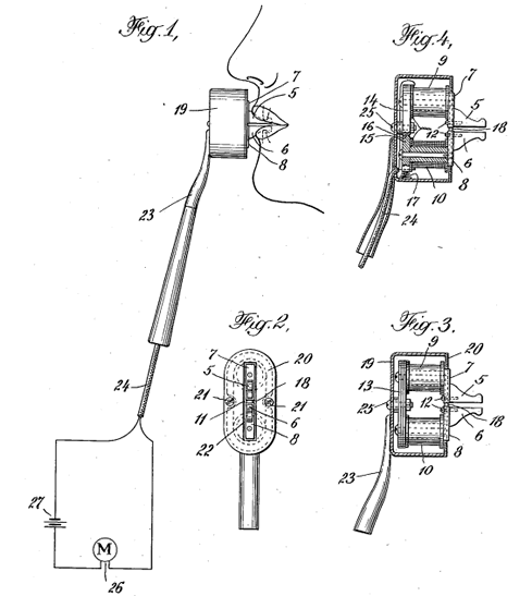
Uma das mais interessantes patentes de Hugo Gernsback que até exploramos num artigo em nossa revista Eletrônica Total é o osophone, um aparelho que aproveitava o fato dos nervos auditivos poderem ser excitados a partir dos dentes. A ideia era permitir que os surdos ouvissem através dos dentes usando o osophone! (*)

Morreu nos Estados Unidos em 1967. O "Hugo Gernsback Award" é até hoje oferecido anualmente aos autores dos melhores contos de ficção científica.
Hugo Gernsback também foi o criador das famosas histórias de "primeiro de abril" publicadas na revista Radio Electronics. Sob o pseudônimo de Mohamed Ulysses Fipps ele descrevia projetos muito interessantes com fundamentos técnicos impecáveis que, no entanto não levavam a nada ou não funcionavam, pois eram realmente uma "pegada" de primeiro de abril. Coisas como amplificador de ganho zero e nível zero de ruído (em que o sinal de entrada, ao se analisar o diagrama, era levado direto para a saída e coisas semelhantes. Nosso autor nacional Aldo Vilela é um dos seguidores do Primeiro de Abril de Gernsback tendo publicado nesta mesma revista diversas estórias de primeiro abril "eletrônico".
Conheci Patrick Merchant, sobrinho de Gernsback que me contou muitas histórias interessantes sobre seu tio e até tentou manter um site para manter viva sua memória. No entanto, foi bloqueado pela família e o site teve de ser retirado da Internet. A quantidade de revistas de Hugo Gernsback no campo da eletrônica é enorme. Falaremos de algumas de modo independente na nossa história da eletrônica, pois elas retratam não apenas a evolução das revistas como da própria eletrônica.
A convivência como nomes como DeForest, Edison, Flemming e outros inventores fez com que suas revistas em muitos casos fosse a lançadora de artigo em que esses grandes nomes descreveram pela primeira vez suas descobertas.















