Você gosta de cantar? Que tal então transformar seu aparelho de som, facilmente, num karaokê doméstico? Sem muito gasto e excelente desempenho você terá os recursos que hoje só são obtidos com equipamento§ caros ou especiais. Com a disponibilidade de muitas gravações de playbacks dos sucessos mais tocados. cantar em casa fica muito mais fácil.

Obs. Este artigo é de 1986, existindo soluções mais práticas atualmente.

Para os que não sabem, o Karaokê é uma forma de diversão muito interessante criada no Japão, mas que agora faz sucesso em todo o mundo, inclusive no Brasil.

O Karaokê consiste em se dispor do acompanhamento das músicas de maior sucesso, e com a ajuda de um microfone e equipamento próprio, cantar com este acompanhamento.

O karaokê é praticado em clubes, bares, e mesmo no lar, como forma de diversão em que o “artista” pode mostrar toda sua capacidade em cantar os sucessos do momento.

No Brasil já são fabricados diversos equipamentos de som, chamados mesmo de “Karaokês" que consistem em aparelhos de som comuns, mas com o recurso da mixagem do som de um microfone ao som de uma fita ou disco que tenha um acompanhamento.

Na função de Karaokê, o som do microfone é mixado ao do playback ocorrendo a reprodução de ambos num conjunto de caixas, como se o cantor tivesse o acompanhamento original da música.

No Brasil o que se faça seja a simples comercialização do playback (gravação da orquestra ou conjunto com que o cantor gravou o disco original de sucesso),mas o verdadeiro Karaokê é feito com um acompanhamento especial, normalmente de solo, para facilitar mais o amador, que nem sempre tem habilidade para conseguir cantar com uma orquestra.

O que propomos neste artigo é um simples dispositivo de mixagem próprio para karaokê.

Intercalado entre seu toca-discos ou toca-fitas e o seu amplificador, ele permite a utilização do conjunto como karaokê.

 

 

Como Funciona

Os equipamentos de som normais não possuem uma etapa de mixagem que permita misturar o sinal de uma fonte externa (microfone, por exemplo) com o sinal do toca-discos ou toca-fitas.

O que fazemos então é um mixer, mas com características próprias para a aplicação em karaokê.

Assim, para o sinal do microfone temos uma etapa de alto-ganho com impedância de entrada baixa, entre 200 e 2000 ohms, o que permite operar com microfones comuns de gravadores cassete.

Para a mistura dos sinais temos uma etapa com dois transistores, sendo um deles FET (transistor de efeito de campo) que garante uma impedância alta de entrada e excelente ganho.

Para o canal direito, canal esquerdo e o microfone temos controles de níveis de mixagem, o que significa que o acompanhamento pode ser ajustado no nível certo, de acordo com a voz de cada um.

O importante é que, mesmo sendo o playback estéreo, o microfone tem seu sinal jogado nos dois canais.

A alimentação do circuito é feita com 12 V vindo de uma fonte regulada e as características do sistema são tais que podemos adaptá-lo em qualquer sistema de som em que exista uma ligação acessível do toca-discos ou toca-fitas à entrada do amplificador.

 

 

Montagem

Como se trata de montagem sensível a captação de zumbidos, o máximo de cuidado com a disposição dos componentes e blindagens deve ser tomado neste caso.

Na figura 1 temos o diagrama completo do aparelho.

 

Figura 1 – Diagrama do aparelho
Figura 1 – Diagrama do aparelho | Clique na imagem para ampliar |

 

 

A placa de circuito impresso é mostrada na figura 2.

 

Figura 2 – Placa para a montagem
Figura 2 – Placa para a montagem | Clique na imagem para ampliar |

 

 

Além dos cuidados normais, existem outros que precisam ser observados para que o aparelho funcione perfeitamente.

Em especial recomendamos atenção na ligação dos fios de passagem dos sinais, que devem ser blindados e devem ter suas malhas bem aterradas.

O uso de caixa metálica facilita a blindagem, se bem que, com caixas plásticas, numa montagem bem feita também sejam obtidos resultados satisfatórios.

É importante que a filtragem da fonte seja bem feita justamente para minimizar os efeitos desta captação de zumbidos pelo circuito.

O transistor de entrada do microfone realmente deve ser um BC549 ou equivalente como o BC239 em vista de seu maior ganho e menor nível de ruído.

Outros podem ser usados, mas os resultados podem não ser os esperados.

Depende tudo de se fazer uma experiência.

Os capacitores eletrolíticos usados, com exceção de C1 da fonte devem ter tensões de trabalho de 12 V. O da fonte tem tensão de trabalho de 25 V.

O transformador pode ser de qualquer tipo com 12 + 12 V de tensão de secundário e corrente a partir de 200 mA, já que o consumo da unidade é bastante baixo.

Na ligação dos potenciômetros, que podem ser tanto do tipo rotativo como deslizante (Iog ou lin), é importante observar a ordem der ligação dos fios, pois qualquer inversão pode prejudicar o desempenho da unidade com a perda do sinal.

Estas ligações devem ser as mais curtas possíveis e blindadas com as malhas de todos os fios interligadas e ligadas também ao negativo da fonte.

Os jaques de entrada e saída do sinal devem ser escolhidos de acordo com os plugues e cabos de conexão do amplificador, ou do plugue do microfone.

Para os amplificadores podem ser usados jaques e plugues RCA e para o microfone, jaque do tipo P2 (Monofônico).

Uma vez completada a montagem a prova e o uso são imediatos já que não existem ajustes prévios.

 

 

Prova e Uso

Existem diversas maneiras de se usar o sistema para a formação de um Karaokê doméstico.

Na figura 3 temos os modos de se fazer a composição a partir de equipamentos comuns.

 

Figura 3 – Interligações para compor o sistema
Figura 3 – Interligações para compor o sistema | Clique na imagem para ampliar |

 

 

No primeiro caso temos a adaptação de um sistema de som para esta finalidade em que o adaptador é intercalado entre o toca-discos ou toca-fitas (tape deck) e o amplificador.

No segundo caso temos uma versão mais simples em que usamos um gravador cassete e um amplificador de qualquer tipo, inclusive monofônico.

Aqui, o adaptador tem sua entrada ligada na saída de fones do gravador, e a saída ligada à entrada do amplificador.

Se o amplificador for estereofônico, usamos as duas entradas, mas se for monofônico, ele funcionará perfeitamente com a ligação de uma só.

Se o leitor dispuser de um toca-discos do tipo portátil, temos a terceira possibilidade,que é usar este elemento em conjunto com um amplificador de qualquer tipo.

A operação é feita do seguinte modo:

Coloque no toca-discos ou toca-fitas o playback da música que se deseja cantar.

Ajuste então o nível de sinal do playback e do microfone de modo a ter a melhor reprodução, de acordo com seu nível de voz, sem distorção.

Depois é só cantar!

Para gravar, o procedimento pode ser o ilustrado na figura 4.

 

Figura 4 – Fazendo a gravação
Figura 4 – Fazendo a gravação | Clique na imagem para ampliar |

 

 

Neste, o playback é tocado num toca-discos e seu sinal mixado com o do microfone.

Ao mesmo tempo, o leitor deve jogar seu sinal ao amplificador e tape-deck que deve estar na posição de gravar.

A monitoria pode ser feita a partir das próprias caixas acústicas ou então via fone de ouvido.

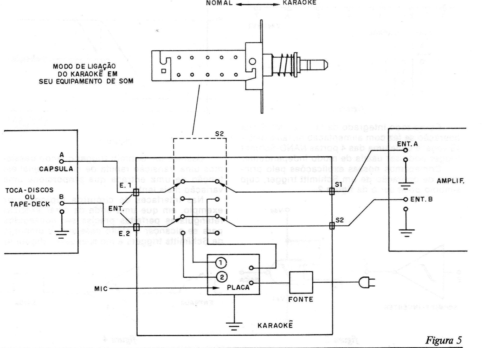
Obs. Uma possibilidade muito interessante para os que além de cantar tocam algum instrumento (violão ou guitarra) é mostrada na figura 5.

 


| Clique na imagem para ampliar |

 

 

   Figura 5 – Mixando o sinal de um violão
Figura 5 – Mixando o sinal de um violão | Clique na imagem para ampliar |

 

 

Neste caso, o sinal do playback é mixado ao do microfone e também ao do captador do instrumento.

Você pode controlar então o nível dos três sinais e obter uma gravação com seu próprio acompanhamento além do playback original.

 

 

Como Obter os playbacks

 

Diversas são as gravadoras que já dispõem de discos ou fitas de playbacks dos principais sucessos do momento, ou mesmo do passado.

Procurando sua casa de discos você não terá dificuldades em obter a gravação que deseja e usá-la com este equipamento.

Obs. Lembramos que este artigo é de 1986. Os leitores dotados de bom conhecimento técnico podem fazer adaptações para operar com tecnologias modernas.

 

 

Eliminador SoIo-voz

 

Em outro artigo neste site mostramos um “Eliminador SoIo-voz" que era um dispositivo capaz de eliminar ou reduzir sensivelmente o nível de sinal do cantor numa gravação, para os casos em que o original era feito segundo técnica comum na maioria dos casos: o cantor no meio e o acompanhamento em estéreo nos dois canais.

Verificamos que muitas das gravações davam bons resultados com o eliminador, pela sua própria técnica de realização no estúdio, entretanto outras não.

Assim, dependendo da técnica usada na gravação (cantor com sinal mais forte num dos canais) ou conforme a própria qualidade da gravação (diferenças de níveis entre os canais) o eliminador não trazia os resultados esperados.

 

 

Lista de Material

 

CI1- 7812 - circuito integrado regulador de tensão

Q1 - BC549 ou BC539 - transistor NPN

Q2, Q4 - BC548 ou BC238 – transistores NPN

Q3 – MPF101 ou equivalente - transistor de efeito de campo

D1, D2 - 1N4002 ou equivalentes – diodos de silício

T1 – 12 V x 250 mA - transformador com primário de acordo com a rede local

C1 - 1000 uF x 16 V - capacitor eletrolítico

C2 - 47 uF x 16 V - capacitor eletrolítico

C3, C7, C8 - 100 nF (104) - capacitor cerâmicos ou de poliéster

C4, C6 - 4,7 uF x 16V- capacitores eletrolíticos

C5 - 470 nf (474) -› capacitor cerâmico ou de poliéster

C9 - 22 uF x 16V- capacitor eletrolítico

C10 ~ 47 uF x 16 V - capacitor eletrolítico

C11 - 1 uF x 16V - capacitor eletrolítico

R1 - 560 ohms - resistor (verde, azul, marrom)

R2 – 12 k - resistor (marrom, vermelho, laranja)

R3 – 47 k - resistor (amarelo, violeta, laranja)

R4, R10 - 10k - resistor (marrom, preto, laranja)

R5, R6, R12 – 1 k - resistores (marrom, preto, vermelho)

R7 - 100 ohms - resistor (marrom, preto, marrom)

R8, R9, R14 – 150 k - resistores (marrom, verde, amarelo)

R11 - 4k7 - resistor (amarelo, violeta, vermelho)

R13 - 33 ohms - resistor (laranja, laranja, preto)

P1, P2, P3 - 100k - potenciômetros lineares rotativos ou deslizantes

S1 - Interruptor simples

Diversos: cabo de entrada, jaques de entrada e saída, fios blindados, placa de circuito impresso, caixa para montagem, microfone dinâmico de baixa impedância (20 a 200 ohms), botões para os potenciômetros, fios, solda etc.

 

 

 

NO YOUTUBE


NOSSO PODCAST