O sensível voltímetro que descrevemos tem características não encontradas nos multímetros analógicos e, portanto, pode servir tanto de base para um projeto de expansão de escalas ou aumento de sensibilidade em outros voltímetros, como numa montagem independente com finalidade didática.
Também deve ser considerado um aparelho de utilidade para os que não p possuam um voltímetro que alcance os 500 V ou que tenha um fundo de escala menor de apenas 500 mV.
Os multímetros analógicos comuns possuem escalas de tensões contínuas razoáveis, mas sua sensibilidade normalmente é baixa, que pode ser inferior a 10 K ohms por Volt, o que impede seu uso em muitos casos.
Isso significa que para os que não possuem um multímetro de maior sensibilidade, ou mesmo do tipo eletrônico digital, as medidas que envolvam baixas tensões, sem que o instrumento afete os resultados, não são cessíveis.
Nosso voltímetro com transistor de efeito de campo (FET), cujo fundo de escala é de 500 mv, possui uma sensibilidade que equivale a uma resistência de 11 M ohms, o que nos leva a algo em torno dos 22 M ohms por Volt na escala mais baixa, o que o torna excelente para aplicações em circuitos mais sensíveis como, por exemplo, os de baixas correntes e altas resistências.
Com estas características o voltímetro praticamente não influi no circuito medido, o que não ocorre quando usamos um multímetro analógico comum.
O aparelho na sua versão básica tem 4 escalas, com fundos de 500 mV, 5 V, 50V e 500 V e é alimentado por uma bateria comum de 9 V, apresentando um consumo extremamente baixo, o que garante uma excelente durabilidade para esta fonte de energia.
Para colocar em funcionamento o multímetro, são necessários apenas dois ajustes: um permanente e outro que deve ser feito sempre que o instrumento for utilizado.
A precisão obtida dependerá muito dos componentes utilizados, especificamente dos resistores de R1 a R4.
Com resistores comuns de 2% a 5% esta precisão será obtida, que está próximo do que se consegue com multímetros comuns e corresponde ao exigido para um diagnóstico em equipamentos comerciais.
Características:
Tensão de alimentação: 9 V (bateria)
Escalas: 4 (500 mV, 5 V, 50 V, 500 V)
Consumo: 1 mA ou menos
Resistência de entrada: 11 M ohms
COMO FUNCIONA
Os transistores de efeito de campo de junção possuem um trecho linear na sua curva característica, no qual a corrente que circula entre o dreno (d) e a fonte (s) é diretamente proporcional à tensão aplicada na sua entrada (g) (figura 1).

Operando neste trecho, podemos facilmente usar este componente para medir tensões, aplicando-as à entrada e convertendo-as em corrente proporcionais que podem ser usadas para excitar um microamperímetro ligado no circuito de dreno do transistor de efeito de campo.
As tensões mais baixas (até 500 mV) podem ser aplicadas diretamente na comporta do transistor de efeito de campo.
No entanto, para as tensões maiores, temos que usar um divisor de tensão formado por resistores.
Com a escala apropriada dos resistores, podemos medir tensões de 500 V ou mais.
O instrumento indicador é um microamperímetro de 0 - 100 uA ou o mais próximo disso.
A montagem não é crítica pois o importante é o ajuste de P1, que leva o indicador ao fim da escala com a tensão prevista.
O instrumento terá então uma escala com 10 divisões, conforme mostra a figura 2, fazendo-se na leitura as devidas multiplicações, conforme a posição da chave seletora de entrada

Assim, se for lida uma indicação “2” na escala de 0 a 50 V, isso significa uma tensão de 10 V (0,2 x 50 = 10 V ).
O potenciômetro P2 tem por finalidade equilibrar o circuito, levando o instrumento a indicar zero na ausência de tensão de entrada.
MONTAGEM
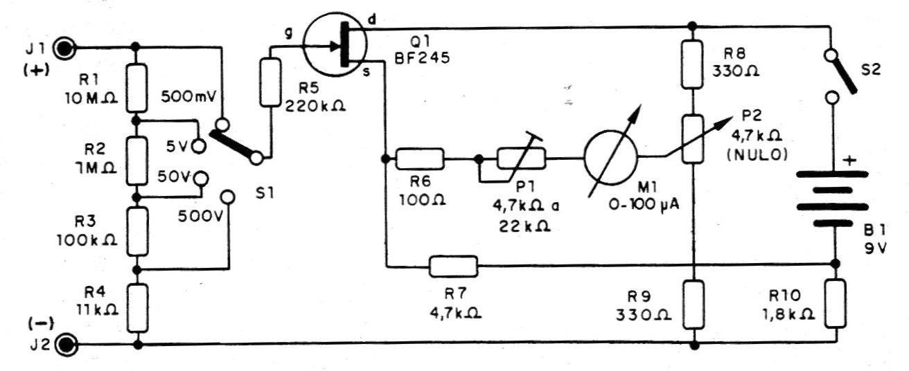
O diagrama completo do voltímetro é mostrado na figura 3.
A montagem em uma pequena placa de circuito impresso é mostrada na figura 4.

Para uma montagem didática, entretanto, nada impede que seja usada uma matriz de contatos.
Os resistores são todos de 1/8 W com 2% ou 5% de tolerância.
Lembramos que nem sempre resistores com os valores indicados e a baixa tolerância exigida podem ser encontrados facilmente.
Uma possibilidade a ser considerada na montagem é selecionar num lote de resistores de mesmo valor um que esteja o mais próximo do previsto, usando um multímetro de maior precisão.
O transistor de efeito de campo pode ser o BF245 ou qualquer equivalente de junção de canal N.
Para S, temos duas possibilidades numa montagem: usar uma chave seletora de 1 pólo x 4 posições (rotativa) ou então fazer a comutação das escalas por meio de bornes nos quais as pontas de prova serão encaixadas.
P1 é um trimpot comum, enquanto que P2 é um potenciômetro.
Para a ligação da bateria será preciso usar um conector.
Uma pequena caixa plástica pode alojar todos componentes com facilidade.
O instrumento indicador (M1) é um microamperímetro de bobina móvel com fundo de escala de 100 uA ou 200 uA.
Os instrumentos do tipo encontrado em VUs - meters de aparelhos de som, que são de menor custo, podem servir para uma montagem menos sofisticada.
Para completar a montagem, o leitor vai precisar ainda de pontas de prova e plugues de conexão ao aparelho.
PROVA E USO
Colocado a bateria no circuito, ajuste inicialmente P2 para que o instrumento indicador indique zero.
Escolha uma escala e aplique na entrada a tensão máxima correspondente, a partir de uma fonte precisa.
Uma maneira de fazer este ajuste é com um regulador de 5 V como indica a figura 5.

Colocando as pontas de prova na saída do regulador, na escala de 0-5 V, ajuste P, para ter máxima indicação do instrumento, ou seja, seu fundo de escala.
Com este procedimento as demais escalas estarão automaticamente ajustadas e o aparelho estará pronto para uso.
Sempre que for usar o voltímetro tenha os seguintes cuidados:
a) Ajuste o nulo (P2) antes de cada metida
b) Observe a polaridade das pontas de prova.
c) Comece sempre pela escala de maior fundo se não souber a ordem de grandeza da tensão a ser medida.
Uma tensão excessiva na entrada, com a escolha de uma escala imprópria pode causar a queima do transistor de efeito de campo que é muito delicado.
Lista de Material
Semicondutores:
Q1 - BF245 ou equivalente - FET de junção canal N.
Resistores: (1/8 W - ver texto)
R1 – 10 M ohms
R2 - 1M5 ohms
R3 - 100 k ohms
R4 - 11 K ohms (10 k ohms em série com 1 k ohms)
R5 - 220 k ohms:
R6 – 100 ohms
R7 - 4,7 k ohms
R8 e R9 – 330 ohms
R10 - 1,8 k ohms
P1 - 4,7 k ohms - trimpot
P2 - 4,7 k ohms - potenciômetro
Diversos:
S1-Chave de 1 pólo x 4 posições- ver texto
S2 - Interruptor simples
M1 - 0-100 uA - microamperímetro de bobina móvel
B1 - 9 V - bateria
J1 - borne vermelho
J2 - borne preto
Placa de circuito impresso, caixa, conector de bateria, pontas de prova, botões para a chave e potenciômetro, fios, solda, etc.
















