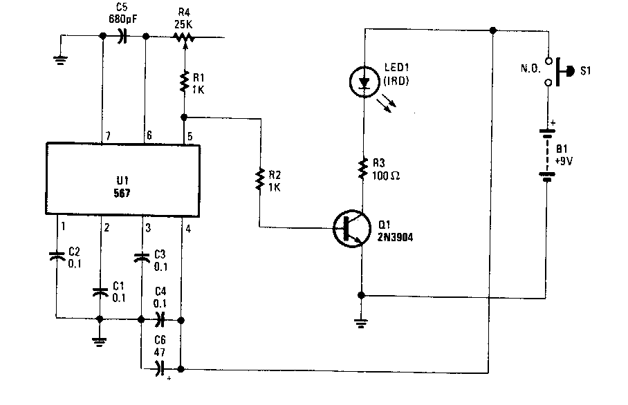
Este circuito aparece em versões semelhantes neste site. Esta é de uma Popular Electronics dos anos 80. A potência depende de R3 que pode ser alterada conforme o LED. Eventualmente pode ser usado um transistor mais potente também.
Este circuito aparece em versões semelhantes neste site. Esta é de uma Popular Electronics dos anos 80. A potência depende de R3 que pode ser alterada conforme o LED. Eventualmente pode ser usado um transistor mais potente também.