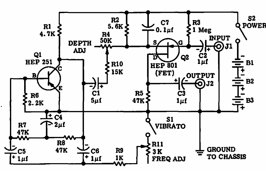
Este circuito de vibrato foi encontrado em documentação da Motorola de 1966. O circuito usa transistores da época que podem ser substituídos por tipos comuns atuais. A alimentação é feita com 3 baterias de 9 V.
Este circuito de vibrato foi encontrado em documentação da Motorola de 1966. O circuito usa transistores da época que podem ser substituídos por tipos comuns atuais. A alimentação é feita com 3 baterias de 9 V.