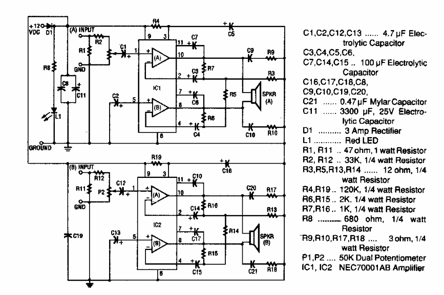
Encontrado numa publicação americana dos anos 80, este circuito pode ser encontrado em equipamentos de som comerciais da época. A lista com os valores dos componentes é dada ao lado do diagrama.
Encontrado numa publicação americana dos anos 80, este circuito pode ser encontrado em equipamentos de som comerciais da época. A lista com os valores dos componentes é dada ao lado do diagrama.