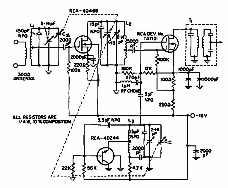
Este circuito serve como referência pelos componentes usados e pela época. O circuito é de uma documentação da RCA de 1967. São usados MOSFETs da época.

 

 


| Clique na imagem para ampliar |

 

 

 

NO YOUTUBE


NOSSO PODCAST