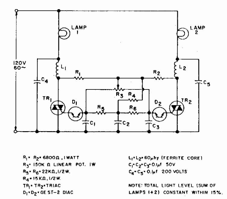
Este Cross-Fader como também é conhecido faz com que o brilho de uma lâmpada aumente ao mesmo tempo em que o brilho da outra diminui. O circuito é de uma documentação dos anos 90 da General Electric. Triacs equivalentes e SBS podem ser usados.
Este Cross-Fader como também é conhecido faz com que o brilho de uma lâmpada aumente ao mesmo tempo em que o brilho da outra diminui. O circuito é de uma documentação dos anos 90 da General Electric. Triacs equivalentes e SBS podem ser usados.