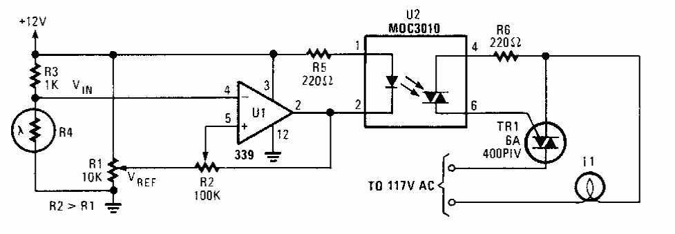
Encontrado numa Popular Electronics antiga este circuito também pode ser adaptado para ser usado como shield. Nesta versão o controle pode acionar cargas a partir da luz que incide num LDR.
Encontrado numa Popular Electronics antiga este circuito também pode ser adaptado para ser usado como shield. Nesta versão o controle pode acionar cargas a partir da luz que incide num LDR.