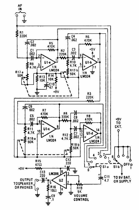
Este circuito para baixas frequências (graves) foi encontrado numa Popular Electronics dos anos 90. O circuito pode ser ajustado para faixas de 500 a 1500 Hz. Aplicações incluem filtros de recepção.

Este circuito para baixas frequências (graves) foi encontrado numa Popular Electronics dos anos 90. O circuito pode ser ajustado para faixas de 500 a 1500 Hz. Aplicações incluem filtros de recepção.
