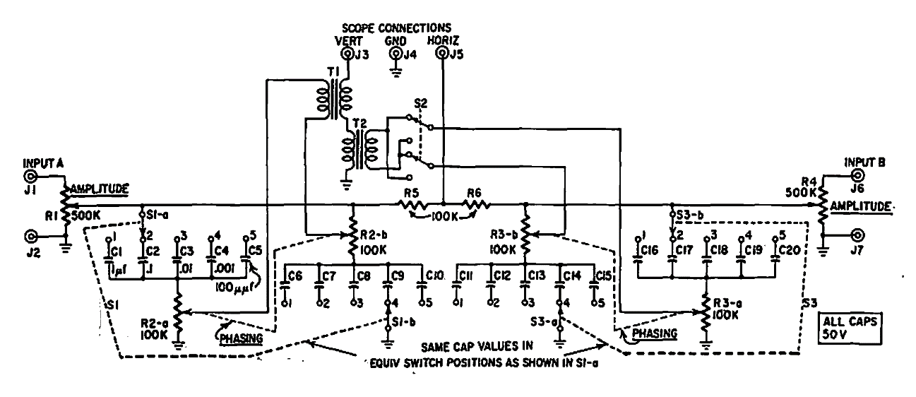
A finalidade deste circuito de uma Radio Electronics de 1965 é ajudar na observação de formas de onda cicloide em um osciloscópio. O circuito usa apenas componentes passivos.

 


| Clique na imagem para ampliar |

 

 

 

NO YOUTUBE


NOSSO PODCAST