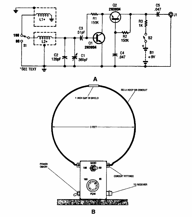
Encontrado numa Popular Electronics dos anos 80, este circuito pode usar transistores mais modernos como os BF494 ou BF495. O circuito opera nas faixas de radioamadores de 160 e 80 metros, podendo também ser usado nas faixas de ondas médias.
Encontrado numa Popular Electronics dos anos 80, este circuito pode usar transistores mais modernos como os BF494 ou BF495. O circuito opera nas faixas de radioamadores de 160 e 80 metros, podendo também ser usado nas faixas de ondas médias.