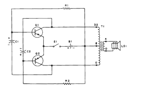
Este simples circuito oscilador foi encontrado num manual de transistores da Sylvania de 1960. O transformador é do tipo de saída para pequenos amplificadores, como usado na época.


Este simples circuito oscilador foi encontrado num manual de transistores da Sylvania de 1960. O transformador é do tipo de saída para pequenos amplificadores, como usado na época.

