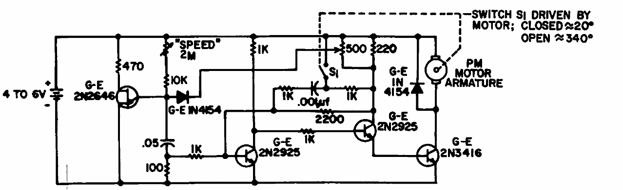
Encontrado em documentação da General Electric de 1965, este circuito pode ser elaborado com transistores equivalentes modernos conforme a corrente do motor controlado.

 


| Clique na imagem para ampliar |

 

 

 

NO YOUTUBE


NOSSO PODCAST