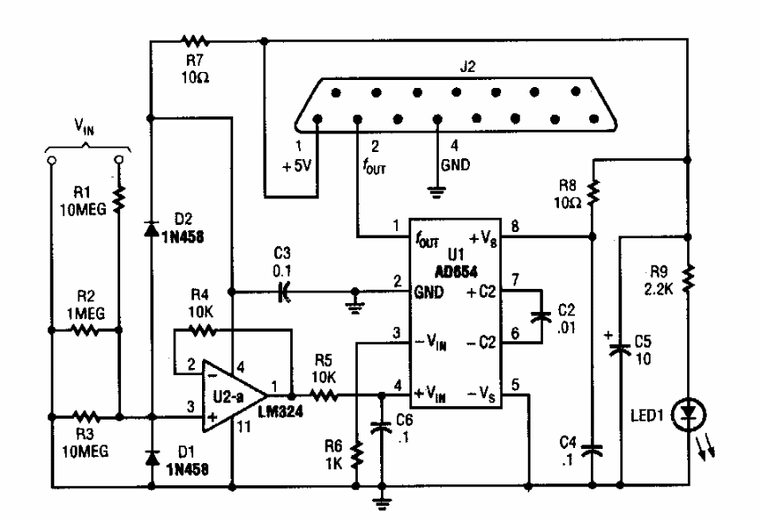
Este circuito de uma Popular Electronics dos anos 90 permite usar um PC antigo como voltímetro digital utilização a porta paralelo. Um trabalho interessante para os leitores que possuam um PC antigo e desejam usar em alguma coisa.
Este circuito de uma Popular Electronics dos anos 90 permite usar um PC antigo como voltímetro digital utilização a porta paralelo. Um trabalho interessante para os leitores que possuam um PC antigo e desejam usar em alguma coisa.