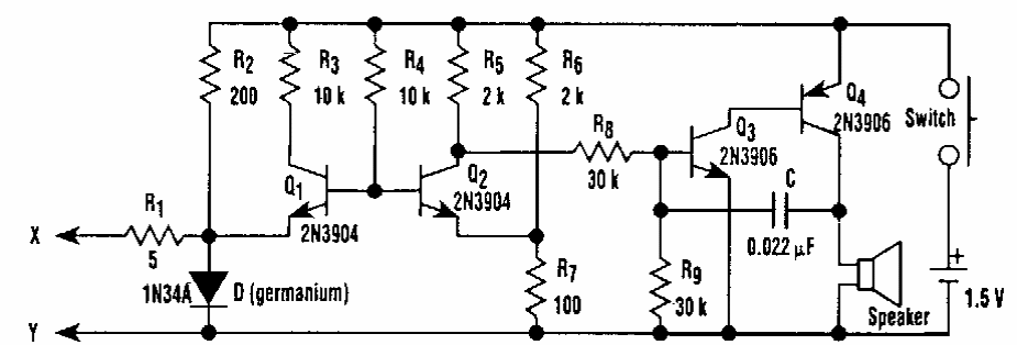
Na verdade, trata-se de um provador de continuidade sugerido por uma Electronic Design dos anos 90. Os transistores são de uso geral. A alimentação consiste numa única pilha.

 


| Clique na imagem para ampliar |

 

 

 

NO YOUTUBE


NOSSO PODCAST