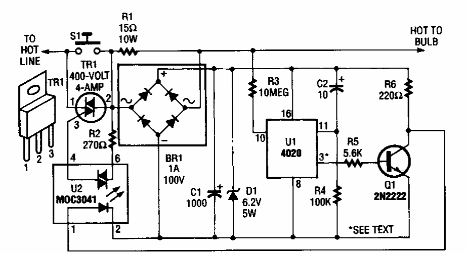
Este circuito de um Electronics Hobbyists Handbook usa uma configuração diferente para um triac. O circuito usa um divisor de frequência integrado e um acoplador com um fotodiac.

 


| Clique na imagem para ampliar |

 

 

 

NO YOUTUBE


NOSSO PODCAST