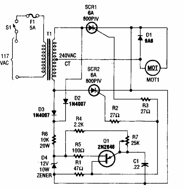
Encontrado numa Popular Electronics dos anos 90, este circuito de controle com SCR para motores DC tem uma configuração pouco comum. O circuito usa SCRs de acordo com a potência do motor.

Encontrado numa Popular Electronics dos anos 90, este circuito de controle com SCR para motores DC tem uma configuração pouco comum. O circuito usa SCRs de acordo com a potência do motor.
