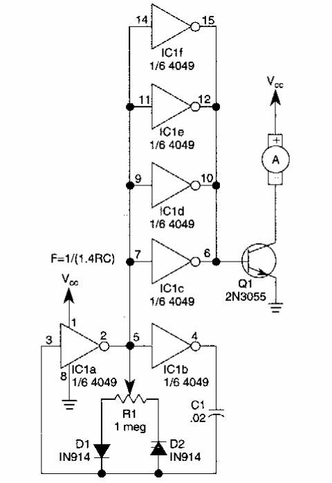
Este circuito para alguns ampères foi encontrado numa Radio Electronics dos anos 90. A tensão pode ficar entre 6 e 25 V para o motor e entre 3 e 12 V para o CI.

Este circuito para alguns ampères foi encontrado numa Radio Electronics dos anos 90. A tensão pode ficar entre 6 e 25 V para o motor e entre 3 e 12 V para o CI.
