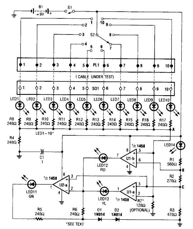
Encontramos este testador de cabos numa Popular Electronics dos anos 90. O circuito usa conector de acordo com o cabo que deve ser testado. Podem ser feitas adaptações para tipos diferentes de cabos.
Encontramos este testador de cabos numa Popular Electronics dos anos 90. O circuito usa conector de acordo com o cabo que deve ser testado. Podem ser feitas adaptações para tipos diferentes de cabos.