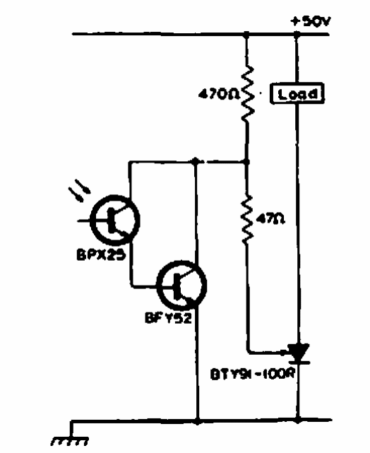
Este circuito foi encontrado numa documentação da Philips de 1967. O circuito dispara quando a luz deixa de incidir no foto-sensor. Fototransistores equivalentes podem ser usados.

Este circuito foi encontrado numa documentação da Philips de 1967. O circuito dispara quando a luz deixa de incidir no foto-sensor. Fototransistores equivalentes podem ser usados.
