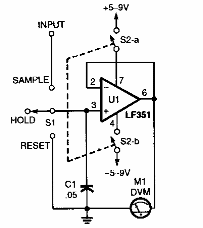
Este circuito para demonstração de uma configuração de amostragem e retenção foi encontrado numa Popular Electronics dos anos 90. O capacitor deve ser de poliéster com pequena fuga.

Este circuito para demonstração de uma configuração de amostragem e retenção foi encontrado numa Popular Electronics dos anos 90. O capacitor deve ser de poliéster com pequena fuga.
