Amplificador de 2 a 6 W CIR15433S CB8305E (CIR18394)
Detalhes
Escrito por: Newton C. Braga
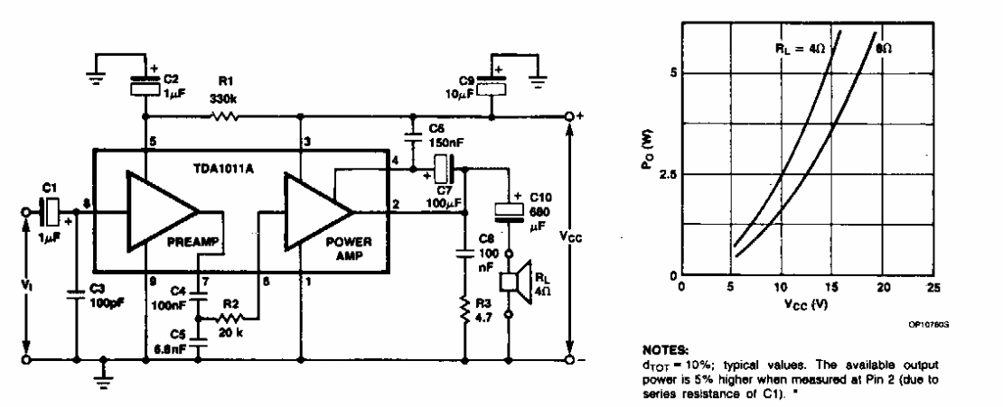
Obtido em documentação da Signetics dos anos 80, este circuito usa um circuito integrado comum na época. As curvas de desempenho são dadas ao lado do diagrama.