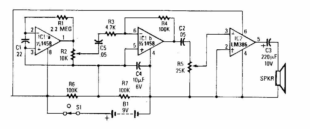
Esta versão mais sofisticada em relação a anterior foi também encontrada numa Radio Electronics dos anos 90. O circuito fornece uma saída de áudio. O sensor é um capacitor cerâmico que funciona como uma linha de transmissão.
Esta versão mais sofisticada em relação a anterior foi também encontrada numa Radio Electronics dos anos 90. O circuito fornece uma saída de áudio. O sensor é um capacitor cerâmico que funciona como uma linha de transmissão.