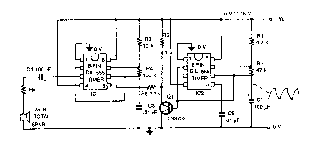
Este circuito simula uma sirene americana, podendo ser encontrado em outros pontos deste site e seção. O circuito é de uma documentação dos anos 90. Preferivelmente, o sinal deve ser aplicado a um amplificador.
Este circuito simula uma sirene americana, podendo ser encontrado em outros pontos deste site e seção. O circuito é de uma documentação dos anos 90. Preferivelmente, o sinal deve ser aplicado a um amplificador.