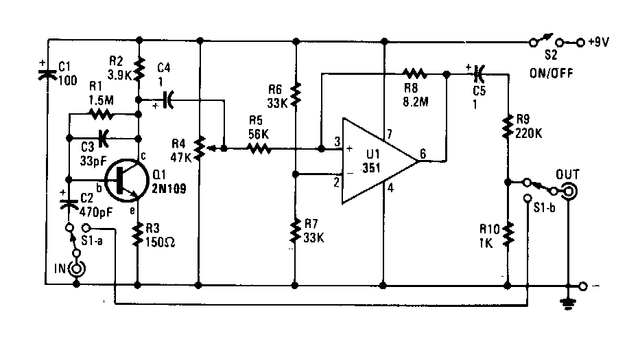
Este distorcedor para instrumentos musicais foi encontrado numa Hands On Electronics dos anos 80. O transistor pode ser qualquer um de uso geral e os componentes podem ser alterados para se modificar os efeitos.
Este distorcedor para instrumentos musicais foi encontrado numa Hands On Electronics dos anos 80. O transistor pode ser qualquer um de uso geral e os componentes podem ser alterados para se modificar os efeitos.