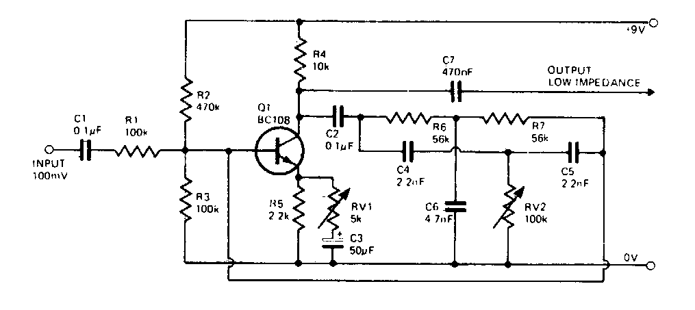
Este circuito é intervalado entre o captador do instrumento e a entrada do amplificador. A mesma versão pode ser encontrada de outras fontes nesta seção. Esta é de uma revista inglesa dos anos 80.

 


| Clique na imagem para ampliar |

 

 

NO YOUTUBE


NOSSO PODCAST