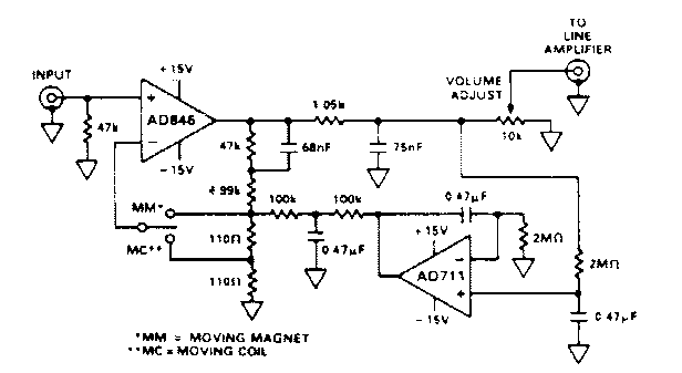
Este circuito é de uma documentação da Analog Devices dos anos 90. O circuito usa operacionais da época e exige fonte de alimentação simétrica.

Este circuito é de uma documentação da Analog Devices dos anos 90. O circuito usa operacionais da época e exige fonte de alimentação simétrica.
