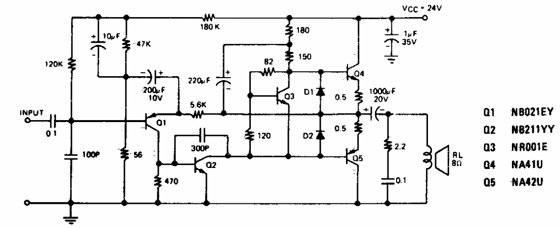
Usando transistores da época, este circuito foi encontrado numa documentação dos anos 70. Os transistores admitem equivalentes modernos para correntes de pelo menos 2 A no caso dos transistores de saída.
Usando transistores da época, este circuito foi encontrado numa documentação dos anos 70. Os transistores admitem equivalentes modernos para correntes de pelo menos 2 A no caso dos transistores de saída.