Detector de pulsos de luz para telefone CIR16198S CB9114E (CIR19172)
Detalhes
Escrito por: Newton C. Braga
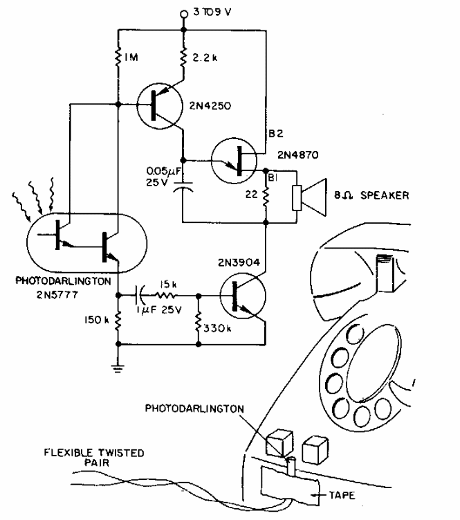
Este circuito se aplica a um telefone de disco antigo detectando os pulsos de luz na discagem. O circuito é de uma antiga Electronic Design dos anos 80.