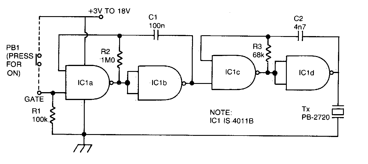
Este circuito foi encontrado em documentação americana dos anos 80. O transdutor é uma cápsula piezoelétrica e a alimentação pode ficar entre 3 e 18 V.

 


| Clique na imagem para ampliar |

 

 

NO YOUTUBE


NOSSO PODCAST