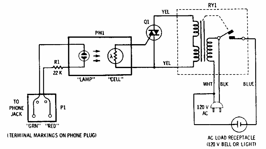
Este circuito pode ativar uma potente lâmpada ou sistema de chamada quando ocorre uma chamada telefônica. Indicado para deficientes auditivos ou locais ruidosos ele foi encontrado em documentação americana anos 90.
Este circuito pode ativar uma potente lâmpada ou sistema de chamada quando ocorre uma chamada telefônica. Indicado para deficientes auditivos ou locais ruidosos ele foi encontrado em documentação americana anos 90.