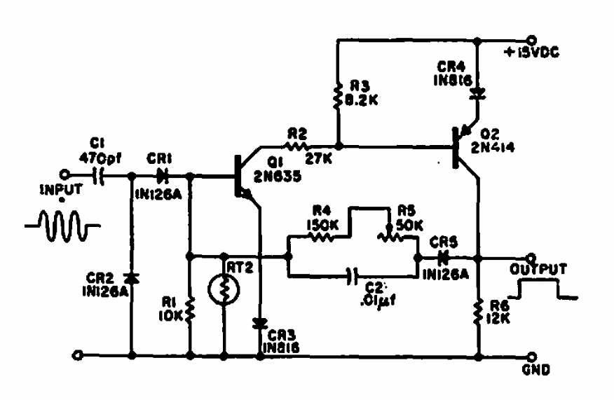
Encontrado numa documentação americana de 1964, este circuito usa transistores da época, pouco comuns atualmente. RT2 é um termistor que compensa a polarização do circuito. A frequência é de 2,5 kHz.
Encontrado numa documentação americana de 1964, este circuito usa transistores da época, pouco comuns atualmente. RT2 é um termistor que compensa a polarização do circuito. A frequência é de 2,5 kHz.