Receptor PLL para sinais via rede CIR17041S CB9576E (CIR19624)
Detalhes
Escrito por: Newton C. Braga
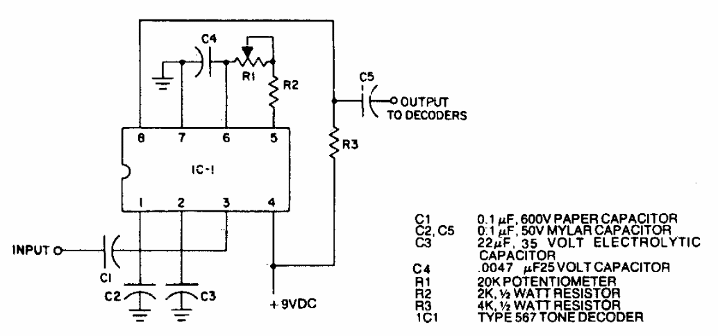
Com base num PLL 567, este circuito serve como receptor para o circuito de CIR19622. S sintonia é feita em R1 e ele serve para sinais modulados em frequência.