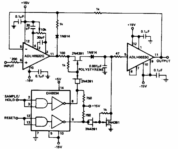
Detector de pico de alta velocidade CIR17189S CB9699E (CIR19746)
Detalhes
Escrito por: Newton C. Braga
Este circuito foi obtido de uma documentação americana dos anos 80. Os circuitos integrados são da época, não sendo fáceis de encontrar em nossos dias.