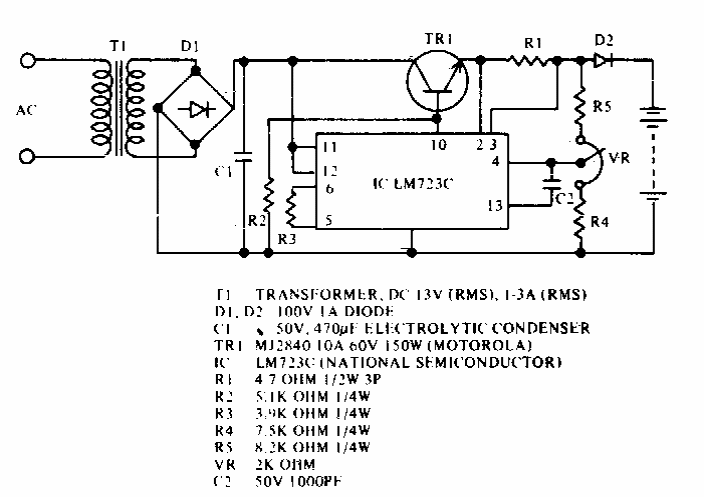
Este carregador para uso automotivo fornece uma corrente de saída de 0,42 A. Encontramos numa documentação americana dos anos 90. O transistor deve ser dotado de dissipador de calor.

 


| Clique na imagem para ampliar |

 

 

 

NO YOUTUBE


NOSSO PODCAST