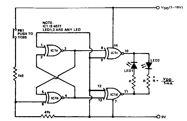
Usando portas CMOS 4077, este circuito foi encontrado em uma documentação inglesa dos anos 90. O circuito opera com frequências de 5 a 10 MHz tipicamente.

 


| Clique na imagem para ampliar |

 

 

NO YOUTUBE


NOSSO PODCAST