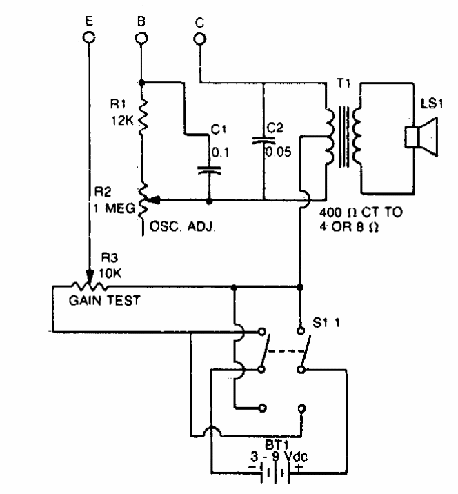
Com este circuito é possível fazer a seleção de transistores e seu teste conforme o ganho. O circuito consiste num oscilador. O transformador é do tipo encontrado em rádios transistorizados antigos.
Com este circuito é possível fazer a seleção de transistores e seu teste conforme o ganho. O circuito consiste num oscilador. O transformador é do tipo encontrado em rádios transistorizados antigos.