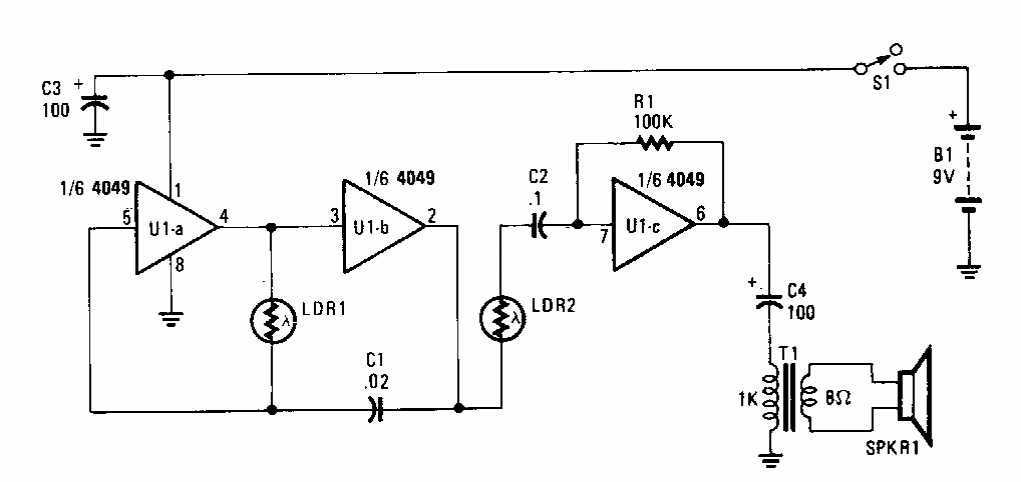
Este theremin óptico foi encontrado numa Hands-On Electronics dos anos 90. A frequência básica é dada por C1 e a saída feita num alto-falante através de um pequeno transformador de saída.

 


| Clique na imagem para ampliar |

 

 

 

NO YOUTUBE


NOSSO PODCAST